Blog
BMW opatentowało śrubę z logo. Naprawa w garażu to przeszłość?
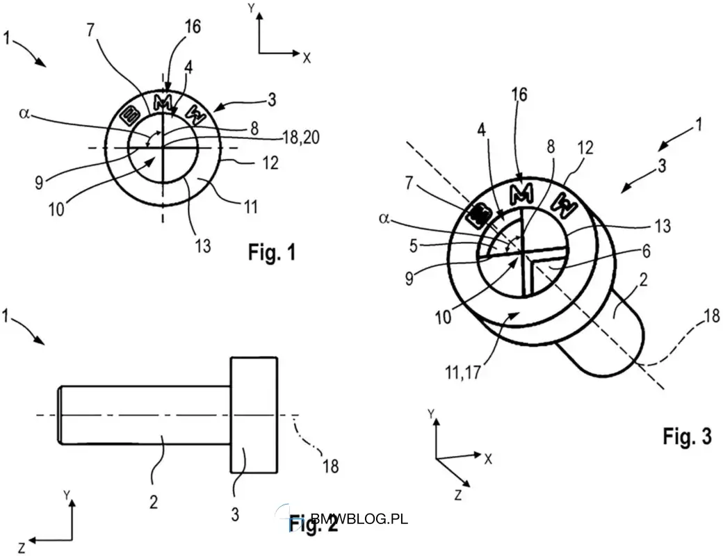
Wyobraź sobie, że chcesz poprawić coś w swoim aucie lub dokonać drobnej naprawy w domowym zaciszu, ale zatrzymuje Cię… mały logotyp marki na łbie śruby. BMW zgłosiło patent na specjalną śrubę, której łeb zdobi logo producenta i którą można odkręcić wyłącznie za pomocą dedykowanego narzędzia. To rozwiązanie, które może na zawsze zmienić to, jak patrzymy na majsterkowanie przy naszych samochodach.

Patent BMW: Śruba z logo, której nie odkręcisz zwykłym kluczem
Zgłoszenie patentowe opisuje innowacyjną strukturę napędu śruby, która celowo odbiega od powszechnie stosowanych standardów, takich jak Torx czy imbus. Głównym celem BMW jest uniemożliwienie odkręcenia wybranych połączeń śrubowych za pomocą narzędzi dostępnych w każdym sklepie budowlanym. Choć dla jednych to przejaw niespotykanej dbałości o detale i personalizację, dla innych to prawdziwy „koszmar domowego mechanika”.
Gdzie BMW chce ukryć nowe śruby?
Według dokumentacji patentowej, te specyficzne zabezpieczenia mogą trafić przede wszystkim do wnętrza pojazdu. Mowa tutaj o takich elementach jak:
• fotele,
• kokpit,
• konsola środkowa.
Na ten moment nie wiadomo, czy rozwiązanie to trafi do seryjnej produkcji, ponieważ patenty często służą jedynie ochronie koncepcji technicznych.

Przeczytaj również:
BMW 507 vs Z8: Dwie Ikony, Dwie Historie Sukcesu (i Porażki)
Prawo do naprawy a motoryzacja – czy to w ogóle legalne?
W 2024 roku Unia Europejska przyjęła przepisy dotyczące „prawa do naprawy”, które mają ułatwiać konsumentom dostęp do serwisowania produktów. Mogłoby się wydawać, że pomysł BMW stoi w sprzeczności z tymi wytycznymi. Okazuje się jednak, że samochody są wyraźnie wyłączone z tych regulacji.

Dlaczego UE nie chroni właścicieli aut przed takimi zmianami?
Obecnie nie istnieją unijne przepisy, które zakazywałyby producentom samochodów stosowania własnych, opatentowanych łbów śrub lub wymagania specjalistycznych narzędzi. BMW porusza się więc w granicach obowiązującego prawa. Choć trwają dyskusje nad włączeniem pojazdów do gospodarki obiegu zamkniętego, obecnie producenci mają wolną rękę w kwestii dostępności narzędzi dla klientów końcowych czy niezależnych warsztatów.
Co to oznacza dla kierowców i niezależnych serwisów?
Jeśli te specyficzne śruby wejdą do masowej produkcji, naprawy będą mogły być wykonywane wyłącznie tam, gdzie dostępne jest specjalistyczne oprzyrządowanie. Dla właściciela BMWoznacza to ograniczony wybór: albo autoryzowany serwis, albo warsztat, który zainwestował w unikalne klucze producenta.
Producenci często argumentują takie kroki względami bezpieczeństwa oraz chęcią zapewnienia najwyższej jakości usług. Jednocześnie takie rozwiązania bezpośrednio wpływają na to, jak bardzo samochód pozostaje dostępny dla niezależnej konserwacji.
Choć śruba z logo może wyglądać efektownie i stanowić element unikalnego designu, dla wielu fanów marki może stać się symbolem końca ery samodzielnego dbania o auto.
Analogia dla lepszego zrozumienia: Wprowadzenie takich śrub można porównać do sytuacji, w której producent luksusowych zegarków tworzy unikalny mechanizm zamknięcia koperty, do którego klucz posiada tylko on sam. Nawet jeśli zegarek należy do Ciebie, każda próba zajrzenia do środka wymaga wizyty w oficjalnym butiku, co z jednej strony gwarantuje fachowość, ale z drugiej – odbiera Ci kontrolę nad Twoją własnością.
BMW fascynowało mnie od dziecka. Z marką jestem związany zawodowo od ponad 17 lat, poznając ją od środka i obserwując jej ewolucję z bliska.
Na BMWBLOG.pl łączę doświadczenie z pasją – analizuję nowe modele, technologie i kierunek, w którym zmierza marka, bez PR-owego filtra. Relacjonuję najważniejsze wydarzenia motoryzacyjne i konkursy elegancji w Europie, w tym m.in. Concorso d’Eleganza Villa d’Este, będąc na miejscu jako przedstawiciel mediów.
Moim celem jest pomóc Ci lepiej zrozumieć świat BMW i podejmować świadome decyzje jako entuzjasta lub przyszły właściciel.






